Appearance
集团法务管理模块项目用户操作手册
纠纷管理
纠纷报告
纠纷报告-草稿页签-新建,保存
步骤一:进入法务管理 》纠纷管理 》纠纷报告的草稿列表,点击新建:

步骤二:进入新建页面正确填写所有必填内容点击保存按钮进行保存;

步骤三:保存后进入草稿列表,数据显示正确;

纠纷报告-草稿页签-编辑
步骤一:进入法务管理 》纠纷管理 》纠纷报告的草稿列表,点击编辑:

步骤二:进入编辑页面,页面内容字段与需求保持一致,填写必填项,点击发布后进入已有效列表;


纠纷报告-草稿页签-删除
步骤一:进入纠纷管理 》纠纷报告,进入草稿列表,点击删除;

步骤二:点击否取消删除,点击是删除;

纠纷报告-草稿页签-发布
步骤一:进入法务管理 》纠纷管理 》纠纷报告的草稿列表,点击新建:

步骤二:进入新建页面正确填写所有必填内容,点击【发布】;

步骤三:数据进入【有效】列表显示;

纠纷报告-查看
步骤一:进入法务管理 》纠纷管理 》纠纷报告,草稿列表和有效列表,点击查看:


步骤二:进入查看页面,查看信息,点击【关闭】,返回列表页面。

纠纷进展
纠纷进展-进展登记-添加,保存
步骤一:进入法务管理 》纠纷管理 》纠纷进展列表,显示已经发布的纠纷报告数据,点击【进展登记】:

步骤二:进入进展页面,点击【添加】,选择对应的进展程序;

步骤三:在进展页面,添加数据,点击【保存】;

纠纷进展-进展登记-草稿进展-编辑
步骤一:进入法务管理 》纠纷管理 》纠纷进展页面,选择草稿进展,点击进展程序:

步骤二:进入编辑页面,页面内容字段与需求保持一致,填写必填项,点击发布;

步骤三:发布后的进展信息只能查看;

纠纷进展-进展登记-草稿进展编辑-删除
步骤一:进入法务管理 》纠纷管理 》纠纷进展页面,选择草稿进展,点击进展程序,点击删除;

步骤二:点击否取消删除,点击是删除;

纠纷进展-进展登记-发布
步骤一:进入法务管理 》纠纷管理 》纠纷进展页面,点击【纠纷进展】:

步骤二:进入进展程序页面,填写所有必填内容,点击【发布】;

步骤三:数据显示在左侧,只可查看;
纠纷进展-结案-保存
步骤一:进入法务管理 》纠纷管理 》纠纷进展列表,已经发布进展的纠纷,点击【结案】:

步骤二:提示"结案后不可再编辑进展信息,是否确定结案";

步骤三:点击"确定"进入结案页面;点击取消则继续在进展列表显示;

步骤四:结案页面,点击【保存】,数据进入【纠纷结案】列表,不再在【纠纷进展】列表显示;


纠纷进展-查看
步骤一:进入法务管理 》纠纷管理 》纠纷进展,点击查看:

步骤二:进入查看页面,查看信息,点击【关闭】,返回列表页面。

纠纷结案
纠纷结案-结案-发布
步骤一:进入法务管理 》纠纷管理 》纠纷结案列表,点击【结案】:

步骤二:进入新建页面正确填写所有必填内容,点击【发布】;

纠纷结案-查看
步骤一:进入法务管理 》纠纷管理 》纠纷结案,点击查看:

步骤二:进入查看页面,查看信息,点击【关闭】,返回列表页面。

纠纷查询
纠纷查询-搜索/重置
步骤一:进入法务管理 》纠纷管理 》纠纷查询列表:

步骤二:若在条件区域输入了筛选查询的案件,点击重置按钮即可将搜索条件恢复至原始状态:


纠纷查询-查看
步骤一:进入法务管理 》纠纷管理 》纠纷查询列表,点击查看按钮:

步骤二 :进入查看页面,点击左上角的页签也切换查看的信息,查看完毕点击关闭按钮关闭页面:

纠纷查询-导出
步骤一:导出列表中的数据,点击导出按钮;

步骤二:选择导出的列之后点击确定;


步骤三:点击打开按钮打开导出的文件,点击保存按钮保存文件,点击取消按钮取消操作;

案件管理
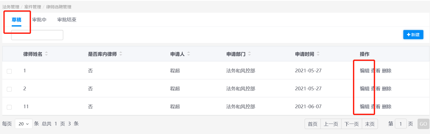
律师选聘管理
草稿-新建
步骤一:点击左侧导航【法务管理】>【案件管理】>【律所选聘管理】,进入律所选聘管理的导航列表,页签列表显示"草稿"、"审批中"、"审批结束",默认显示"草稿"页签;

步骤二:在"草稿"页签下,点击右上方的【新建】按钮;

步骤三:进入新建律师选聘页面,正确填写必填信息,点击【提交】按钮,系统会提示"提交成功",数据进入到"审批中"页签和待办中进行审批;点击【保存】按钮,系统提示"保存成功",数据保存在草稿页签;点击【关闭】按钮,不保存返回列表。

草稿-编辑
步骤一:点击左侧导航【法务管理】>【案件管理】>【律所选聘管理】,进入律所选聘管理的导航列表,在"草稿"页签下,点击操作列表的【编辑】按钮;

步骤二:进入编辑律师选聘页面,编辑相应的信息,点击【提交】按钮,系统会提示"提交成功",数据进入到"审批中"页签和待办中进行审批;点击【保存】按钮,系统提示"保存成功",数据保存在草稿页签;点击【关闭】按钮,不保存返回列表。

草稿-删除
步骤一:点击左侧导航【法务管理】>【案件管理】>【律所选聘管理】,进入律所选聘管理的导航列表,在"草稿"页签下,点击操作列表的【删除】;

步骤二:弹出提示信息"您确定要删除此数据?",点击【是】,删除此合同;点击【否】,取消当前操作。

审批中-处理
步骤一:点击左侧导航【法务管理】>【案件管理】>【律所选聘管理】,进入律所选聘管理的导航列表,在"审批中"页签下,点击操作列表的【处理】;

步骤二:进入律所选聘处理页面,填写意见,点击【提交】按钮,系统会提示"提交成功",数据进入到"审批结束"页签;点击【保存】按钮,系统提示"保存成功",数据保存在审批中页签;点击【关闭】按钮,不保存返回列表;

步骤三:提交成功,审批结束,数据进入审批结束列表。

律所选聘管理-查看
步骤一:点击左侧导航【法务管理】>【案件管理】>【律所选聘管理】,进入律所选聘管理的导航列表,"草稿"、"审批中"、"审批结束"页签都提供查看功能,点击【查看】按钮;

步骤二:进入律所选聘查看页面,点击【关闭】按钮,可关闭当前律所选聘查看页面。

案件报告
草稿-新建
步骤一:点击左侧导航【法务管理】>【案件管理】>【案件报告】,进入案件报告的导航列表,页签列表显示"草稿"、"有效",默认显示"草稿"页签;

步骤二:在"草稿"页签下,点击右上方的【新建】按钮;

步骤三:进入案件报告新建页面。选择要创建的案件类型,正确填写所有必填内容,点击【发布】按钮,系统提示"发布成功",案件进入"有效"页签;点击【保存】按钮,系统提示"保存成功",数据保存在草稿页签;点击【关闭】按钮,不保存案件返回列表。

草稿-编辑
步骤一:点击左侧导航【法务管理】>【案件管理】>【案件报告】,进入案件报告的导航列表,在"草稿"页签下,点击操作列表的【编辑】按钮;

步骤二:进入编辑页面,页面内容字段与需求保持一致。编辑填写必填项,点击【发布】按钮,系统提示"发布成功",案件进入"有效"页签;点击【保存】按钮,系统提示"保存成功",数据保存在草稿页签;点击【关闭】按钮,不保存案件返回列表。

草稿-删除
步骤一:点击左侧导航【法务管理】>【案件管理】>【案件报告】,进入案件报告的导航列表,在"草稿"页签下,点击操作列表的【删除】按钮;

步骤二:弹出提示信息:您确定要删除此数据?点击【是】删除案件报告;点击【否】取消删除。

案件报告-查看
步骤一:点击左侧导航【法务管理】>【案件管理】>【案件报告】,进入案件报告的导航列表,"草稿"、"有效"页签都提供查看功能,点击【查看】按钮;

步骤二:进入案件查看页面,查看完毕后点击【关闭】按钮关闭页面

案件进展
案件进展-进展登记
步骤一:点击左侧导航【法务管理】>【案件管理】>【案件进展】,进入案件进展的导航列表,对需要进展登记的案件点击【进展登记】按钮;

步骤二:进入案件进展登记页面,点击案件进展阶段【添加】按钮进行案件进展阶段的添加;
步骤三:弹出案件进展阶段选择页面,选择要添加的案件进展阶段,点击【确定】按钮,案件进展阶段添加成功;点击【取消】按钮,关闭页面返回案件进展登记页面;

步骤四:案件进展阶段添加成功,显示在案件进展阶段列,点击【删除】按钮,可以删除案件进展阶段;

步骤五:点击程序信息的【添加】按钮进行程序信息的添加;

步骤六:弹出程序信息选择页面,选择要添加的程序信息,点击【确定】按钮,案件进展阶段程序信息添加成功;点击【取消】按钮,关闭页面返回案件进展登记页面;

步骤七:正确填写程序信息后,点击【发布】按钮即发布该进展程序信息;点击【保存】,保存之后的案件进展仍可以编辑删除查看;点击【关闭】按钮取消添加程序信息;

步骤八:点击程序信息列的【删除】按钮,删除草稿状态的程序信息(发布成功的程序信息不可删除);

步骤九:弹出提示信息:请确认是否删除该程序信息?点击【是】删除程序信息,点击【否】取消删除;

步骤十:发布之后点击相应的【添加】按钮可以继续添加其他的案件进展阶段或者添加当前进展下的进展程序信息;

步骤十一:案件进展程序发布成功后,页面显示关闭按钮,点击【关闭】按钮关闭案件进展页面。

案件进展-结案
步骤一:点击左侧导航【法务管理】>【案件管理】>【案件进展】,进入案件进展的导航列表,对进展登记完成的案件点击【结案】按钮;

步骤二:弹出网页提示信息:结案后不可再编辑案件信息,是否确定结案?点击【确定】按钮进入审理结案页面;点击【取消】按钮取消结案操作

步骤三:正确填写必填信息后,点击【发布】按钮进行发布,审理结案成功;点击【保存】按钮保存结案信息,点击【关闭】按钮关闭审理结案页面。

案件进展-查看
步骤一:点击左侧导航【法务管理】>【案件管理】>【案件进展】,进入案件进展的导航列表,对需要查看的案件点击【查看】按钮;

步骤二:查看完毕,点击关闭按钮关闭页面;

审理结案
审理结案-结案
步骤一:点击左侧导航【法务管理】>【案件管理】>【审理结案】,进入审理结案的导航列表,对需要结案的案件点击【结案】按钮(已审结的案件不显示结案按钮);

步骤二:进入审理结案页面,选择是否继续执行:选择有,则案件进入俺家执行页面;选择无,则审理结案没有案件执行。点击左上角的案件上报、案件进展可以查看案件报告、案件进展信息。正确填写必填信息,点击【发布】按钮,案件审理结案完成;点击【保存】按钮保存结案信息,点击【关闭】按钮关闭审理结案页面。

审理结案-查看
步骤一:点击左侧导航【法务管理】>【案件管理】>【审理结案】,进入审理结案的导航列表,对需要查看的案件点击查看按钮;

步骤二 ;进入查看页面,查看完毕点击【关闭】按钮关闭案件查看页面;

案件执行
案件执行-执行进展
步骤一:点击左侧导航【法务管理】>【案件管理】>【案件执行】,进入案件执行的导航列表,对需要执行进展的案件点击【执行进展】按钮;

步骤二:进入执行进展页面,点击执行进展信息子表右侧的【添加】按钮,填写执行进展信息;

步骤三:弹出执行进展信息添加页面,添加必填信息,点击【确定】按钮,执行进展信息添加成功;点击【取消】按钮,关闭添加页面;

步骤四:执行进展信息添加完成,可以进行编辑、删除、查看操作。正确填写必填信息,点击【发布】按钮发布执行进展;点击【保存】按钮保存未发布的执行程序信息;点击【关闭】按钮不保存信息关闭执行进展页面;

案件执行-执行程序
步骤一:点击左侧导航【法务管理】>【案件管理】>【案件执行】,进入案件执行的导航列表,对需要添加执行程序的案件点击【执行程序】按钮;

步骤二:进入执行程序页面,点击执行程序列的【添加】按钮;

步骤三:弹出案件执行程序添加页面,选择要添加的案件执行程序,点击【确定】按钮,执行程序添加成功;点击【取消】按钮,不添加执行程序返回页面;

步骤四:正确填写必填信息,点击【发布】按钮发布执行程序;点击【保存】按钮,保存草稿状态;点击【关闭】按钮,不保存信息返回案件执行列表页面;点击【删除】删除添加的执行程序信息。
注:当前程序信息发布后,才可添加新的程序信息!

案件执行-转案件进展
步骤一:点击左侧导航【法务管理】>【案件管理】>【案件执行】,进入案件执行的导航列表,对需要转案件进展的案件点击【转案件进展】按钮;

步骤二:弹出提示信息:是否转入案件进展?点击【是】按钮,案件进入案件进展列表;点击【否】,转案件进展不成功返回列表页面。

已结案件
已执结案件-已结案件导航列表-查看
步骤一:点击左侧导航【法务管理】>【案件管理】>【已结案件】,进入已结案件的导航列表,对需要查看的案件点击查看按钮;

步骤二:进入查看页面,点击左上角的页签也切换查看的信息,查看完毕点击关闭按钮关闭页面。

已执结案件-已结案件导航列表-创建案例
步骤一:点击左侧导航【法务管理】>【案件管理】>【已结案件】,进入已结案件的导航列表,对需要创建案例库的案件点击【创建案例】按钮;

步骤二:进入案例库创建页面,填写信息之后点击【发布】按钮案例创建成功;点击【保存】按钮,保存信息返回列表页面;点击【关闭】按钮,不保存信息发回已结案件页面。

已执结案件-已结案件导航列表-责任追究
步骤一:点击左侧导航【法务管理】>【案件管理】>【已结案件】,进入已结案件的导航列表,对需要责任追究的案件点击【责任追究】按钮;

步骤二:进入责任追究页面,填写信息之后点击【发布】按钮责任追究发布成功;点击【保存】按钮,保存信息返回列表页面;点击【关闭】按钮,不保存信息发回已结案件页面。

已结案件-查看
步骤一:点击左侧导航【法务管理】>【案件管理】>【已结案件】,进入已结案件的导航列表,"已结案件导航列表"、"责任追究导航列表"页签都提供查看功能,点击【查看】按钮;

步骤二:进入查看页面,点击左上角的页签也切换查看的信息,查看完毕点击关闭按钮关闭页面。

已结案件--责任追究导航列表-案件查看
步骤一:点击左侧导航【法务管理】>【案件管理】>【已结案件】,进入已结案件的"责任追究导航列表"页签导航列表,对需要查看的数据点击【案件查看】按钮;

步骤二:进入案件查看页面,点击左上角的页签切换查看的信息,点击【关闭】按钮关闭案件查看页面。

案例库
案例库-查看
步骤一:点击左侧导航【法务管理】>【案件管理】>【案件库】,进入案件库的导航列表,对需要查看的案件点击查看按钮;

步骤二:进入案例库查看页面,查看完毕点击【关闭】按钮关闭案例库查看页面;

案件查询
案件查询-搜索/重置
步骤一:点击左侧导航【法务管理】>【案件管理】>【案件查询】,进入案件查询的导航列表,在条件区域输入要筛选查询的案件,点击【搜索】按钮即可搜索选择条件的案件;

步骤二:若在条件区域输入了筛选查询的案件,点击重置按钮即可将搜索条件恢复至原始状态;

案件查询-查看
步骤一:点击左侧导航【法务管理】>【案件管理】>【案件查询】,进入案件查询的导航列表,对需要查看的案件点击【查看】按钮;

步骤二:进入案件查看页面,点击左上角的页签也切换查看的信息,查看完毕点击【关闭】按钮关闭查看页面;

案件查询-导出
步骤一:点击左侧导航【法务管理】>【案件管理】>【案件查询】,进入案件查询的导航列表,对需要导出的案件点击【导出】按钮;

步骤二:弹出选择导出列页面,选择导出列,之后点击【确定】按钮,导出成功;点击【取消】按钮,不导出数据返回案件查询列表页面。

步骤三:点击打开按钮打开导出的文件,点击【保存】按钮保存文件,点击【取消】按钮取消操作;

案件统计
案件数额统计
搜索/重置/导出
步骤一:点击左侧导航【法务管理】>【案件管理】>【案件统计】>【案件数额统计】,进入案件数额统计的页面,在条件区域输入要筛选查询的案件,点击【搜索】按钮即可搜索选择条件的案件;点击重置按钮即可将搜索条件恢复至原始状态;

步骤二:点击导出按钮之后,点击打开按钮打开导出的文件,点击保存按钮保存文件,点击取消按钮取消操作;


案件阶段统计
搜索/重置/导出
步骤一:点击左侧导航【法务管理】>【案件管理】>【案件统计】>【案件阶段统计】,进入案件阶段统计的页面,在条件区域输入要筛选查询的案件,点击【搜索】按钮即可搜索选择条件的案件;点击重置按钮即可将搜索条件恢复至原始状态;

步骤二:点击导出按钮之后,点击打开按钮打开导出的文件,点击保存按钮保存文件,点击取消按钮取消操作;


诉讼地位统计
搜索/重置/导出
步骤一:点击左侧导航【法务管理】>【案件管理】>【案件统计】>【诉讼地位统计】,进入诉讼地位统计的页面,在条件区域输入要筛选查询的案件,点击【搜索】按钮即可搜索选择条件的案件;点击重置按钮即可将搜索条件恢复至原始状态;

步骤二:点击导出按钮之后,点击打开按钮打开导出的文件,点击保存按钮保存文件,点击取消按钮取消操作;


案发单位统计
搜索/重置/导出
步骤一:点击左侧导航【法务管理】>【案件管理】>【案件统计】>【案发单位统计】,进入案发单位统计的页面,在条件区域输入要筛选查询的案件,点击【搜索】按钮即可搜索选择条件的案件;点击重置按钮即可将搜索条件恢复至原始状态;

步骤二:点击导出按钮之后,点击打开按钮打开导出的文件,点击保存按钮保存文件,点击取消按钮取消操作;


外聘律师律所管理
律所管理
草稿-新建
步骤一:点击左侧导航【法务管理】>【外聘律师律所管理】>【律所管理】,进入律所管理的导航列表,页签列表显示"草稿"、"有效"、"已拉黑",默认显示"草稿"页签;

步骤二:在"草稿"页签下,点击右上方的【新建】按钮;

步骤三:进入新建律所管理页面,正确填写必填信息,点击【发布】按钮,系统提示"发布成功",数据进入到"有效"页签;点击【保存】按钮,系统提示"保存成功",数据保存在草稿页签;点击【关闭】按钮,不保存返回列表。

草稿-编辑
步骤一:点击左侧导航【法务管理】>【外聘律师律所管理】>【律所管理】,进入律所管理的导航列表,在"草稿"页签下,点击操作列表的【编辑】按钮;

步骤二:进入编辑律所管理页面,编辑相应的信息,点击【发布】按钮,系统提示"发布成功",数据进入到"有效"页签;点击【保存】按钮,系统提示"保存成功",数据保存在草稿页签;点击【关闭】按钮,不保存返回列表。

草稿-删除
步骤一:点击左侧导航【法务管理】>【外聘律师律所管理】>【律所管理】,进入律所管理的导航列表,在"草稿"页签下,点击操作列表的【删除】;

步骤二:弹出提示信息"您确定要删除此数据?",点击【是】,删除此律所信息;点击【否】,取消当前操作。

有效-编辑
步骤一:点击左侧导航【法务管理】>【外聘律师律所管理】>【律所管理】,进入律所管理的导航列表,在"有效"页签下,点击操作列表的【编辑】按钮;

步骤二:进入编辑律师选聘页面,编辑相应的信息,点击【发布】按钮,系统提示"发布成功",查看数据,显示最近编辑发布的信息;点击【关闭】按钮,不保存数据返回列表。

有效-拉黑
步骤一:点击左侧导航【法务管理】>【外聘律师律所管理】>【律所管理】,进入律所管理的导航列表,在"有效"页签下,点击操作列表的【拉黑】按钮;

步骤二:进入律所拉黑页面,正确填写必填信息,点击【发布】按钮,律所拉黑成功,进入到已拉黑页签下;点击【关闭】按钮,取消当前操作,返回列表页面。

已拉黑-解锁
步骤一:点击左侧导航【法务管理】>【外聘律师律所管理】>【律所管理】,进入律所管理的导航列表,在"已拉黑"页签下,点击操作列中的【解锁】按钮;

步骤二:进入律所恢复页面,正确填写必填信息。点击【发布】按钮,律所解锁成功,进入到有效页签下;点击【关闭】按钮,取消当前操作,返回列表页面。

律所管理-查看
步骤一:点击左侧导航【法务管理】>【外聘律师律所管理】>【律所管理】,进入律所管理的导航列表,"草稿"、"有效"、"已拉黑"页签都提供查看功能,点击【查看】按钮;

步骤二:进入律所管理查看页面,点击【关闭】按钮,可关闭当前律所查看页面。

律师管理
律师管理-新增
步骤一:点击左侧导航【法务管理】>【外聘律师律所管理】>【律师管理】,进入律师管理的导航列表;点击右上方的【新增】按钮;

步骤二:进入新建律师管理页面,正确填写必填信息,点击【发布】按钮,系统提示"发布成功"数据状态为"发布";点击【保存】按钮,系统提示"保存成功",数据状态为"草稿";点击【取消】按钮,不保存数据返回列表。

律师管理-编辑
步骤一:点击左侧导航【法务管理】>【外聘律师律所管理】>【律师管理】,进入律师管理的导航列表,选择"草稿"状态的数据,点击操作列表的【编辑】按钮;

步骤二:进入编辑律师管理页面,编辑相应的信息,点击【发布】按钮,系统提示"发布成功"数据状态为"发布";点击【保存】按钮,系统提示"保存成功",数据状态为"草稿";点击【取消】按钮,不保存数据返回列表。

律师管理-删除
步骤一:点击左侧导航【法务管理】>【外聘律师律所管理】>【律师管理】,进入律师管理的导航列表;点击操作列表的【删除】;

步骤二:弹出提示信息"您确定要删除此数据?",点击【是】,删除此律师信息;点击【否】,取消当前操作。

律师管理-查看
步骤一:点击左侧导航【法务管理】>【外聘律师律所管理】>【律师管理】,进入律师管理的导航列表;点击操作列表的【查看】按钮;

步骤二:进入律师查看页面,点击【关闭】按钮,可关闭当前律所查看页面。

服务记录管理
草稿-新建
步骤一:点击左侧导航【法务管理】>【外聘律师律所管理】>【服务记录管理】,进入服务记录管理的导航列表,页签列表显示"草稿"、"有效",默认显示"草稿"页签;

步骤二:在"草稿"页签下,点击右上方的【新建】按钮;

步骤三:进入新建服务记录页面,正确填写必填信息,点击【发布】按钮,系统提示"发布成功",数据进入到"有效"页签;点击【保存】按钮,系统提示"保存成功",数据保存在草稿页签;点击【关闭】按钮,不保存返回列表。

草稿-编辑
步骤一:点击左侧导航【法务管理】>【外聘律师律所管理】>【服务记录管理】,进入服务记录管理的导航列表,在"草稿"页签下,点击操作列表的【编辑】按钮;

步骤二:进入编辑服务记录页面,编辑相应的信息,点击【发布】按钮,系统提示"发布成功",数据进入到"有效"页签;点击【保存】按钮,系统提示"保存成功",数据保存在草稿页签;点击【关闭】按钮,不保存返回列表。

草稿-删除
步骤一:点击左侧导航【法务管理】>【外聘律师律所管理】>【服务记录管理】,进入服务记录管理的导航列表,在"草稿"页签下,点击操作列表的【删除】;

步骤二:弹出提示信息"您确定要删除此数据?",点击【是】,删除此律所信息;点击【否】,取消当前操作。

服务记录管理-查看
步骤一:点击左侧导航【法务管理】>【外聘律师律所管理】>【服务记录管理】,进入服务记录管理的导航列表,"草稿"、"有效"页签都提供查看功能,点击【查看】按钮;

步骤二:进入服务记录查看页面,点击【关闭】按钮,可关闭当前服务记录查看页面。

服务评价
服务评价-评价
步骤一:点击左侧导航【法务管理】>【外聘律师律所管理】>【服务评价】,进入服务评价的导航列表;点击操作列表的【评价】按钮;

步骤二:进入评价维护页面,正确填写必填信息,点击【发布】按钮,系统提示"发布成功"评价成功;点击【保存】按钮,系统提示"保存成功",保存评价信息;点击【关闭】按钮,不保存数据返回列表。

服务评价-查看
步骤一:点击左侧导航【法务管理】>【外聘律师律所管理】>【服务评价】,进入服务评价的导航列表;点击操作列表的【查看】按钮;

步骤二:进入评价维护查看页面,点击【关闭】按钮,可关闭当前评价维护查看页面。

资质证照管理
资质证照管理
草稿-新建
步骤一:点击左侧导航【法务管理】>【资质证照管理】>【资质证照管理】,进入资质证照管理的导航列表,页签列表显示"草稿"、"有效"、"作废",默认显示"草稿"页签;

步骤二:在"草稿"页签下,点击右上方的【新建】按钮;

步骤三:进入新建资质证照页面,正确填写必填信息,点击【发布】按钮,系统提示"发布成功",数据进入到"有效"页签;点击【保存】按钮,系统提示"保存成功",数据保存在草稿页签;点击【关闭】按钮,不保存返回列表。

草稿-编辑
步骤一:点击左侧导航【法务管理】>【资质证照管理】>【资质证照管理】,进入资质证照管理的导航列表,在"草稿"页签下,点击操作列表的【编辑】按钮;

步骤二:进入资质证照编辑页面,编辑相应的信息,点击【发布】按钮,系统提示"发布成功",数据进入到"有效"页签;点击【保存】按钮,系统提示"保存成功",数据保存在草稿页签;点击【关闭】按钮,不保存返回列表。

草稿-删除
步骤一:点击左侧导航【法务管理】>【资质证照管理】>【资质证照管理】,进入资质证照管理的导航列表,在"草稿"页签下,点击操作列表的【删除】;

步骤二:弹出提示信息"您确定要删除此数据?",点击【是】,删除此资质证照信息;点击【否】,取消当前操作。

有效-编辑
步骤一:点击左侧导航【法务管理】>【资质证照管理】>【资质证照管理】,进入资质证照管理的导航列表,在"有效"页签下,点击操作列表的【编辑】按钮;

步骤二:进入编辑资质证照页面,编辑相应的信息,点击【发布】按钮,系统提示"发布成功",查看数据,显示最近编辑发布的信息;点击【关闭】按钮,不保存数据返回列表。

有效-作废
步骤一:点击左侧导航【法务管理】>【资质证照管理】>【资质证照管理】,进入资质证照管理的导航列表,在"有效"页签下,点击操作列表的【作废】按钮;

步骤二:弹出作废资质证照页面,正确填写必填信息,点击【确定】按钮,资质证照作废成功,数据进入到作废页签;点击【关闭】按钮,取消当前操作,返回列表页面。

作废-恢复
步骤一:点击左侧导航【法务管理】>【资质证照管理】>【资质证照管理】,进入资质证照管理的导航列表,在"作废"页签下,点击操作列中的【恢复】按钮;

步骤二:弹出恢复资质证照页面,正确填写必填信息。点击【确定】按钮,资质证照恢复成功,数据进入"有效"页签;点击【关闭】按钮,取消当前操作,返回列表页面。

资质证照管理-查看
步骤一:点击左侧导航【法务管理】>【资质证照管理】>【资质证照管理】,进入资质证照管理的导航列表,"草稿"、"有效"、"作废"页签都提供查看功能,点击【查看】按钮;

步骤二:进入资质证照管理查看页面,点击【关闭】按钮,可关闭当前查看页面。

证照借出申请
草稿-新建
步骤一:点击左侧导航【法务管理】>【资质证照管理】>【证照借出申请】,进入证照借出申请的导航列表,页签列表显示"草稿"、"处理中"、"审批结束",默认显示"草稿"页签;

步骤二:在"草稿"页签下,点击右上方的【新建】按钮;

步骤三:进入新建证照借用申请页面,正确填写必填信息,点击【提交】按钮,系统提示"提交成功",数据进入到"处理中"页签;点击【保存】按钮,系统提示"保存成功",数据保存在草稿页签;点击【关闭】按钮,不保存返回列表;点击【流程跟踪】,查看数据审批流程。

草稿-编辑
步骤一:点击左侧导航【法务管理】>【资质证照管理】>【证照借出申请】,进入证照借出申请的导航列表,在"草稿"页签下,点击操作列表的【编辑】按钮;

步骤二:进入证照借用申请编辑页面,编辑相应的信息,点击【提交】按钮,系统提示"提交成功",数据进入到"处理中"页签;点击【保存】按钮,系统提示"保存成功",数据保存在草稿页签;点击【关闭】按钮,不保存返回列表;点击【流程跟踪】,查看数据审批流程;点击【作废】按钮,作废数据,点击待办事宜-废件箱查看;点击【关注】按钮,关注数据,点击待办事宜-我的关注查看。

草稿-删除
步骤一:点击左侧导航【法务管理】>【资质证照管理】>【证照借出申请】,进入证照借出申请的导航列表,在"草稿"页签下,点击操作列表的【删除】;

步骤二:弹出提示信息"您确定要删除此数据?",点击【是】,删除证照借出申请信息;点击【否】,取消当前操作。

处理中-处理
步骤一:点击左侧导航【法务管理】>【资质证照管理】>【证照借出申请】,进入证照借出申请的导航列表,在"处理中"页签下,点击操作列表的【处理】按钮;

步骤二:进入证照借用申请处理页面,填写意见信息,点击【提交】按钮,系统提示"提交成功";点击【保存】按钮,系统提示"保存成功",保存数据;点击【关闭】按钮,不保存返回列表;点击【流程跟踪】,查看数据审批流程;点击【退回】按钮,数据退回重走流程;点击【关注】按钮,关注数据,点击待办事宜-我的关注查看;

步骤三:审批结束,数据进入审批结束页签。

证照借出申请-查看
步骤一:点击左侧导航【法务管理】>【资质证照管理】>【证照借出申请】,进入证照借出申请的导航列表,"草稿"、"处理中"、"审批结束"页签都提供查看功能,点击【查看】按钮;

步骤二:进入证照借用申请查看页面,点击【关闭】按钮,可关闭当前查看页面。

证照归还登记
待归还-归还登记
步骤一:点击左侧导航【法务管理】>【资质证照管理】>【证照归还登记】,进入证照归还登记的导航列表,页签列表显示"待归还"、"已归还",默认显示"待归还"页签;

步骤二:在"待归还"页签下,点击操作列中的【归还登记】按钮;

步骤三:进入证照归还登记页面,正确填写必填信息,点击【发布】按钮,系统提示"发布成功",数据进入到"已归还"页签;点击【保存】按钮,系统提示"保存成功",保存数据不发布;点击【关闭】按钮,不保存数据返回列表。

证照归还登记-查看
步骤一:点击左侧导航【法务管理】>【资质证照管理】>【证照归还登记】,进入证照归还登记的导航列表,"待归还"、"已归还"页签都提供查看功能,点击【查看】按钮;

步骤二:进入证照归还登记查看页面,点击【关闭】按钮,可关闭当前查看页面。

法律队伍管理
法律机构管理
法律机构管理-新建
步骤一:点击左侧导航【法务管理】>【法律队伍管理】>【法律机构管理】,进入法律机构管理的导航列表,点击右上方的【新建】按钮;

步骤三:进入法律机构管理新建页面,正确填写必填信息,点击【发布】按钮,系统提示"发布成功",数据状态为有效;点击【保存】按钮,系统提示"保存成功",数据状态为草稿;点击【关闭】按钮,不保存返回列表。

法律机构管理-编辑
步骤一:点击左侧导航【法务管理】>【法律队伍管理】>【法律机构管理】,进入法律机构管理的导航列表,点击操作列表的【编辑】按钮;

步骤二:进入法律机构管理编辑页面,编辑相应信息,点击【发布】按钮,系统提示"发布成功",数据状态变为有效;点击【保存】按钮,系统提示"保存成功",数据状态变为草稿;点击【关闭】按钮,不保存返回列表。

草稿-删除
步骤一:点击左侧导航【法务管理】>【法律队伍管理】>【法律机构管理】,进入法律机构管理的导航列表,草稿状态的数据提供删除按钮,点击操作列表的【删除】;

步骤二:弹出提示信息"您确定要删除此数据?",点击【是】,删除法律机构管理信息;点击【否】,取消当前操作。

法律机构管理-查看
步骤一:点击左侧导航【法务管理】>【法律队伍管理】>【法律机构管理】,进入法律机构管理的导航列表,点击操作列表的【查看】按钮;

步骤二:进入法律机构查看页面,点击【关闭】按钮,可关闭当前查看页面。

法律人员管理
草稿-新建
步骤一:点击左侧导航【法务管理】>【法律队伍管理】>【法律人员管理】,进入法律人员管理的导航列表,页签列表显示"草稿"、"已发布"、"已作废",默认显示"草稿"页签;

步骤二:在"草稿"页签下,点击右上方的【新建】按钮;

步骤三:进入新建法律人员管理页面,正确填写必填信息,点击【发布】按钮,系统提示"发布成功",数据进入到"已发布"页签;点击【保存】按钮,系统提示"保存成功",数据保存在草稿页签;点击【关闭】按钮,不保存返回列表。

草稿-编辑
步骤一:点击左侧导航【法务管理】>【法律队伍管理】>【法律人员管理】,进入法律人员管理的导航列表,在"草稿"页签下,点击操作列表的【编辑】按钮;

步骤二:进入法律人员管理编辑页面,编辑相应信息,点击【发布】按钮,系统提示"发布成功",数据进入到"已发布"页签;点击【保存】按钮,系统提示"保存成功",数据保存在草稿页签;点击【关闭】按钮,不保存返回列表。

草稿-删除
步骤一:点击左侧导航【法务管理】>【法律队伍管理】>【法律人员管理】,进入法律人员管理的导航列表,在"草稿"页签下,点击操作列表的【删除】;

步骤二:弹出提示信息"您确定要删除此数据?",点击【是】,删除此法律人员信息;点击【否】,取消当前操作。

已发布-编辑
步骤一:点击左侧导航【法务管理】>【法律队伍管理】>【法律人员管理】,进入法律人员管理的导航列表,在"已发布"页签下,点击操作列表的【编辑】按钮;

步骤二:进入法律顾问编辑页面,编辑相应的信息,点击【发布】按钮,系统提示"发布成功",数据编辑成功;点击【保存】按钮,系统提示"保存成功",保存数据不发布;点击【关闭】按钮,不保存返回列表。

已发布-作废
步骤一:点击左侧导航【法务管理】>【法律队伍管理】>【法律人员管理】,进入法律人员管理的导航列表,在"已发布"页签下,点击操作列表的【作废】按钮;

步骤二:弹出作废法律人员页面,正确填写必填信息,点击【确定】按钮,法律人员作废成功,数据进入到已作废页签;点击【关闭】按钮,取消当前操作,返回列表页面。

已作废-恢复
步骤一:点击左侧导航【法务管理】>【法律队伍管理】>【法律人员管理】,进入法律人员管理的导航列表,在"已作废"页签下,点击操作列中的【恢复】按钮;

步骤二:弹出恢复法律人员页面,正确填写必填信息。点击【确定】按钮,法律人员恢复成功,数据进入"已发布"页签;点击【关闭】按钮,取消当前操作,返回列表页面。

法律人员管理-查看
步骤一:点击左侧导航【法务管理】>【法律队伍管理】>【法律人员管理】,进入法律人员管理的导航列表,"草稿"、"已发布"、"已作废"页签都提供查看功能,点击【查看】按钮;

步骤二:进入法律人员管理查看页面,点击【关闭】按钮,可关闭当前查看页面。

法律审查管理
法律审查申请
草稿-新建
步骤一:点击左侧导航【法务管理】>【法律审查管理】>【法律审查申请】,进入法律审查申请的导航列表,页签列表显示"草稿"、"审批中"、"审查中"、"已审查",默认显示"草稿"页签;

步骤二:在"草稿"页签下,点击右上方的【新建】按钮;

步骤三:进入新建法律审查申请页面,正确填写必填信息,点击【提交】按钮,系统提示"提交成功",数据进入到"审查中"页签;点击【保存】按钮,系统提示"保存成功",数据保存在草稿页签;点击【关闭】按钮,不保存返回列表;点击【流程跟踪】按钮,查看审批流程。

草稿-编辑
步骤一:点击左侧导航【法务管理】>【法律审查管理】>【法律审查申请】,进入法律审查申请的导航列表,在"草稿"页签下,点击操作列表的【编辑】按钮;

步骤二:进入新建法律审查申请页面,正确填写必填信息,点击【提交】按钮,系统提示"提交成功",数据进入到"审查中"页签;点击【保存】按钮,系统提示"保存成功",数据保存在草稿页签;点击【关闭】按钮,不保存返回列表;
点击【流程跟踪】按钮,查看审批流程;点击【作废】按钮,进入待办事宜-废件箱查看作废的数据;点击【知会】,被知会人在待办事宜-待阅查看数据;点击【关注】,进入待办事宜-我的关注查看关注的数据。

草稿-删除
步骤一:点击左侧导航【法务管理】>【法律审查管理】>【法律审查申请】,进入法律审查申请的导航列表,在"草稿"页签下,点击操作列表的【删除】;

步骤二:弹出提示信息"您确定要删除此数据?",点击【是】,删除此法律审查申请信息;点击【否】,取消当前操作。

审批中-处理
步骤一:点击左侧导航【法务管理】>【法律审查管理】>【法律审查申请】,进入法律审查申请的导航列表,在"审批中"页签下,点击操作列表的【处理】按钮;

步骤二:进入法律审查申请处理页面,填写意见信息,点击【提交】按钮,系统提示"提交成功",数据进入"审查中"页签;点击【保存】按钮,系统提示"保存成功",保存数据不发布;点击【关闭】按钮,不保存返回列表。
点击【退回】,退回冲走重走流程;点击【转办】,将数据转给其他人处理。

审批中-撤办
步骤一:点击左侧导航【法务管理】>【法律审查管理】>【法律审查申请】,进入法律审查申请的导航列表,在"审批中"页签下,点击操作列表的【查看】按钮;

步骤二:进入法律审查申请查看页面,点击【撤办】按钮,系统提示"撤办成功",数据状态变为草稿;

已审查-查看
步骤一:法律审查申请提交审批结束,数据显示在审查中页面,在法律审查意见待办理显示该数据,办理结束,数据进入已审查页面,页面提供查看功能,点击【查看】按钮;

步骤二:进入法律审查查看页面,查看法务部审核意见。点击【关闭】按钮,可关闭当前查看页面。

法律审查申请-查看
步骤一:点击左侧导航【法务管理】>【法律审查管理】>【法律审查申请】,进入法律审查申请的导航列表,"草稿"、"审批中"、"审查中"页签都提供查看功能,点击【查看】按钮;

步骤二:进入法律审查审查查看页面,点击【关闭】按钮,可关闭当前查看页面。

法律审查意见
待办理-办理
步骤一:点击左侧导航【法务管理】>【法律审查管理】>【法律审查申请】,进入法律审查申请的导航列表,页签列表显示"待办理"、"草稿"、"已办理",法律审查申请审批审查中的数据显示在显示"待办理"页签;

步骤二:在"待办理"页签下,点击操作列中的【办理】按钮;

步骤三:进入法律审查也就办理页面,正确填写必填信息,点击【提交】按钮,系统提示"提交成功",数据进入到"已办理"页签;点击【保存】按钮,系统提示"保存成功",数据保存在草稿页签;点击【关闭】按钮,不保存返回列表。

草稿-编辑
步骤一:点击左侧导航【法务管理】>【法律审查管理】>【法律审查申请】,进入法律审查申请的导航列表,在"草稿"页签下,点击操作列表的【编辑】按钮;

步骤二:进入编辑法律审查意见页面,正确填写必填信息,点击【提交】按钮,系统提示"提交成功",数据进入到"已办理"页签;点击【保存】按钮,系统提示"保存成功",数据保存在草稿页签;点击【关闭】按钮,不保存返回列表。

法律审查意见-查看
步骤一:点击左侧导航【法务管理】>【法律审查管理】>【法律审查意见】,进入法律审查意见的导航列表,"待办理""草稿"、"已办理"页签都提供查看功能,点击【查看】按钮;

步骤二:进入法律审查查看页面,点击【关闭】按钮,可关闭当前查看页面。

制度管理
制度管理
草稿-新建
步骤一:点击左侧导航【法务管理】>【制度管理】>【制度管理】,进入制度管理的导航列表,页签列表显示"草稿"、"已发布"、"已废止",默认显示"草稿"页签;

步骤二:在"草稿"页签下,点击右上方的【新建】按钮;

步骤三:进入制度发布新建页面,正确填写必填信息,点击【提交】按钮,系统提示"提交成功",数据进入到"已发布"页签;点击【保存】按钮,系统提示"保存成功",数据保存在草稿页签;点击【关闭】按钮,不保存返回列表。

草稿-编辑
步骤一:点击左侧导航【法务管理】>【制度管理】>【制度管理】,进入制度管理的导航列表,在"草稿"页签下,点击操作列表的【编辑】按钮;

步骤二:进入制度发布的编辑页面,编辑相应信息,点击【提交】按钮,系统提示"提交成功",数据进入到"已发布"页签;点击【保存】按钮,系统提示"保存成功",数据保存在草稿页签;点击【关闭】按钮,不保存返回列表;

草稿-删除
步骤一:点击左侧导航【法务管理】>【制度管理】>【制度管理】,进入制度管理的导航列表,在"草稿"页签下,点击操作列表的【删除】;

步骤二:弹出提示信息"您确定要删除此数据?",点击【是】,删除此制度信息;点击【否】,取消当前操作。

已发布-修订
步骤一:点击左侧导航【法务管理】>【制度管理】>【制度管理】,进入制度管理的导航列表,在"已发布"页签下,点击操作列表的【修订】按钮;

步骤二:进入制度发布修订页面,编辑相应的信息,点击【提交】按钮,系统提示"提交成功",数据修订成功;点击【关闭】按钮,不保存数据返回列表。

已发布-导出
步骤一:点击左侧导航【法务管理】>【制度管理】>【制度管理】,进入制度管理的导航列表,在"已发布"页签下,点击操作列表的【导出】按钮;

步骤二:弹出选择列页面,选择需要导出的列,点击【确定】按钮,页面底部弹出提示框,导出的Excel可直接打开,也可以保存到本地电脑;点击【取消】,页面返回到导航列表,信息不会保存。

已发布-废止
步骤一:点击左侧导航【法务管理】>【制度管理】>【制度管理】,进入制度管理的导航列表,在"已发布"页签下,点击操作列表的【废止】按钮;

步骤二:弹出制度废止页面,正确填写必填信息,点击【发布】按钮,制度废止成功,数据进入到已废止页签;点击【关闭】按钮,取消当前操作,返回列表页面。

已废止-恢复
步骤一:点击左侧导航【法务管理】>【制度管理】>【制度管理】,进入制度管理的导航列表,在"已废止"页签下,点击操作列中的【恢复】按钮;

步骤二:弹出制度恢复页面,正确填写必填信息,点击【发布】按钮,制度恢复成功,数据进入到已发布页签;点击【关闭】按钮,取消当前操作,返回列表页面。

制度管理-查看
步骤一:点击左侧导航【法务管理】>【制度管理】>【制度管理】,进入制度管理的导航列表,"草稿"、"已发布"、"已废止"页签都提供查看功能,点击【查看】按钮;

步骤二:进入制度发布查看页面,点击【关闭】按钮,可关闭当前查看页面。

知识产权管理
商标管理
商标申请
草稿-新建
步骤一:点击【知识产权管理】>【商标管理】>【商标申请】,进入商标申请导航列表,列表显示"草稿"、"已发布"页签,默认进入"草稿"页签。

步骤二:点击"草稿"页签的【新建】按钮,进入新建商标申请页面。

步骤三:进入新建商标页面,填写相应的信息后,点击【发布】按钮,商标申请新建成功进入已发布页签;点击【保存】按钮,系统提示"保存成功",保存数据在草稿页签;点击【关闭】按钮,不保存信息返回导航列表。

草稿-编辑
步骤一:点击【知识产权管理】>【商标管理】>【商标申请】,进入商标申请导航列表,在"草稿"页签下,点击操作列表的【编辑】按钮;

步骤二:进入编辑商标申请页面,编辑相应信息,点击【发布】按钮,商标申请新建成功进入已发布页签;点击【保存】按钮,系统提示"保存成功",保存数据在草稿页签;点击【关闭】按钮,不保存信息返回导航列表。

草稿-删除
步骤一:点击【知识产权管理】>【商标管理】>【商标申请】,进入商标申请导航列表,在"草稿"页签下,点击操作列表的【删除】按钮;

步骤二:弹出提示信息"您确定要删除此数据?",点击【是】,删除此商标申请;点击【否】,取消当前操作。

已发布-编辑
步骤一:点击【知识产权管理】>【商标管理】>【商标申请】,进入商标申请导航列表,在"已发布"页签下,点击操作列表的【编辑】按钮;

步骤二:进入编辑商标申请页面,正确输入/选择内容,点击页面【发布】按钮,商标申请信息编辑成功;点击【关闭】按钮,不保存编辑信息返回导航列表。

商标申请-查看
步骤一:点击【知识产权管理】>【商标管理】>【商标申请】,进入商标申请导航列表,"草稿"、"已发布"页签都提供查看功能,点击【查看】按钮;

步骤二:进入商标申请查看页面,点击【关闭】按钮,可关闭当前查看页面。

商标申请-查询
在商标申请导航列表,系统支持模糊匹配和高级查询两种查询方式。
步骤一:在模糊搜索框中输入商标名称,进行模糊匹配;

步骤二:展开高级搜索条件,可多条件组合查询。条件填选好后,点击【查找】按钮,查询商标数据;点击【重置】按钮,重置所有查询条件。

商标管理
草稿-新建
步骤一:点击【知识产权管理】>【商标管理】>【商标管理】,进入商标管理导航列表,列表显示"草稿"、"已发布"、"续展商标"页签,默认进入"草稿"页签。

步骤二:点击"草稿"页签的【新建】按钮,进入新建商标申请页面。

步骤三:进入新建商标管理页面,填写相应的信息后,点击【保存】按钮,系统提示"保存成功",保存数据在草稿页签;点击【关闭】按钮,不保存信息返回导航列表。

步骤四:【续展起始日期】晚于当前登录日期的商标,点击【发布】按钮,商标管理新建成功进入"已发布"页签;【续展起始日期早】于当前登录日期的商标,点击【发布】按钮,商标管理新建成功进入"续展商标"页签。

草稿-补录
步骤一:点击【知识产权管理】>【商标管理】>【商标管理】,进入商标管理导航列表,在"草稿"页签下,点击操作列表的【补录】按钮;

步骤二:进入补录商标管理页面,正确填写必填信息,点击【发布】按钮,商标管理新建成功进入已发布页签;点击【保存】按钮,系统提示"保存成功",保存数据在草稿页签;点击【关闭】按钮,不保存信息返回导航列表。

草稿-编辑
步骤一:点击【知识产权管理】>【商标管理】>【商标管理】,进入商标管理导航列表,在"草稿"页签下,点击操作列表的【编辑】按钮;

步骤二:进入编辑商标管理页面,编辑相应信息,点击【发布】按钮,商标管理新建成功进入已发布页签;点击【保存】按钮,系统提示"保存成功",保存数据在草稿页签;点击【关闭】按钮,不保存信息返回导航列表。

草稿-删除
步骤一:点击【知识产权管理】>【商标管理】>【商标管理】,进入商标管理导航列表,在"草稿"页签下,点击操作列表的【删除】按钮;

步骤二:弹出提示信息"您确定要删除此数据?",点击【是】,删除此商标申请;点击【否】,取消当前操作。

已发布、续展商标-事件登记
步骤一:点击【知识产权管理】>【商标管理】>【商标管理】,进入商标管理导航列表,在"已发布"、"续展商标"页签下,点击操作列表的【事件登记】按钮;

步骤二:进入商标管理事件登记页面,添加商标事件,点击页面【发布】按钮,商标事件登记成功;点击【关闭】按钮,不保存编辑信息返回导航列表。

商标管理-查看
步骤一:点击【知识产权管理】>【商标管理】>【商标管理】,进入商标管理导航列表,"草稿"、"已发布"、"续展商标"页签都提供查看功能,点击【查看】按钮;

步骤二:进入商标申请查看页面,点击【关闭】按钮,可关闭当前查看页面。

商标申请-查询
在商标申请导航列表,系统支持模糊匹配和高级查询两种查询方式。
步骤一:在模糊搜索框中输入商标名称,进行模糊匹配;

步骤二:展开高级搜索条件,可多条件组合查询。条件填选好后,点击【查找】按钮,查询商标数据;点击【重置】按钮,重置所有查询条件。

专利管理
专利申请提案
草稿-新建
步骤一:点击【知识产权管理】>【专利管理】>【专利申请提案】,进入商标申请导航列表,列表显示"草稿"、"已发布"页签,默认进入"草稿"页签。

步骤二:点击"草稿"页签的【新建】按钮,进入新建商标申请页面。


步骤三:进入新建商标页面,填写相应的信息后,点击【发布】按钮,商标申请新建成功进入已发布页签;

点击【保存】按钮,系统提示"保存成功",保存数据在草稿页签;点击【关闭】按钮,不保存信息返回导航列表。


草稿-编辑
步骤一:点击【知识产权管理】>【专利管理】>【专利申请提案】,进入商标申请导航列表,在"草稿"页签下,点击操作列表的【编辑】按钮;

步骤二:点击【保存】按钮,系统提示"保存成功",保存数据在草稿页签;
步骤三:点击【关闭】按钮,不保存信息返回导航列表;
步骤四:进入编辑商标申请页面,编辑相应信息,点击【发布】按钮,新建成功进入已发布页签;

草稿-删除
步骤一:点击【知识产权管理】>【专利管理】>【专利申请提案】,进入导航列表,在"草稿"页签下,点击操作列表的【删除】按钮;

步骤二:弹出提示信息"您确定要删除此数据?",点击【是】,删除此商标申请;点击【否】,取消当前操作。

有效-编辑发布
步骤一:点击【知识产权管理】>【商标管理】>【商标申请】,进入商标申请导航列表,在"已发布"页签下,点击操作列表的【编辑】按钮;

步骤二:进入编辑商标申请页面,正确输入/选择内容,点击页面【发布】按钮,商标申请信息编辑成功;
步骤三:编辑页面,直接点击【关闭】按钮,不保存编辑信息返回导航列表。
height="3.0388888888888888in"}
专利申请提案-查看
步骤一:点击【知识产权管理】>【专利管理】>【专利申请提案】,进入导航列表,"草稿"、"有效"页签都提供查看功能,点击【查看】按钮;
height="1.75in"}
步骤二:进入商标申请查看页面,点击【关闭】按钮,可关闭当前查看页面。

专利申请
专利申请-草稿页签-新建,保存
步骤一:进入【知识产权管理】>【专利管理】>【专利申请】 的草稿列表,点击新建:

步骤二:进入新建页面正确填写所有必填内容点击保存按钮进行保存;

步骤三:保存后进入草稿列表,数据显示正确;

专利申请-草稿页签-编辑发布
步骤一:进入【知识产权管理】>【专利管理】>【专利申请】 的草稿列表,点击编辑:

步骤二:进入编辑页面,页面内容字段与需求保持一致,填写必填项,点击发布后进入已有效列表;


专利申请-草稿页签-删除
步骤一:进入【知识产权管理】>【专利管理】>【专利申请】,进入草稿列表,点击删除;

步骤二:点击否取消删除,点击是删除;

专利申请-草稿页签-发布
步骤一:进入【知识产权管理】>【专利管理】>【专利申请】 的草稿列表,点击新建:

步骤二:进入新建页面正确填写所有必填内容,点击【发布】;

步骤三:数据进入【有效】列表显示;
专利申请-有效页签-编辑
步骤一:进入【知识产权管理】>【专利管理】>【专利申请】 的有效列表,点击编辑:

步骤二:进入编辑页面,页面内容字段与需求保持一致,填写必填项,点击发布后进入已有效列表;


专利申请-查看
步骤一:进入【知识产权管理】>【专利管理】>【专利申请】,草稿列表和有效列表,点击查看:


步骤二:进入查看页面,查看信息,点击【关闭】,返回列表页面。

著作权管理
软件著作权申请提案
软件著作权申请提案-草稿页签-新建,保存
步骤一:进入【知识产权管理】>【著作权管理】>【软件著作权申请提案】 的草稿列表,点击新建:

步骤二:进入新建页面正确填写所有必填内容点击保存按钮进行保存,提示保存成功;

步骤三:保存后进入草稿列表,数据显示正确;

软件著作权申请提案-草稿页签-编辑发布
步骤一:进入【知识产权管理】>【著作权管理】>【软件著作权申请提案】的草稿列表,点击编辑:

步骤二:进入编辑页面,页面内容字段与需求保持一致,填写必填项,点击发布后进入已有效列表;


软件著作权申请提案-草稿页签-删除
步骤一:进入【知识产权管理】>【著作权管理】>【软件著作权申请提案】,进入草稿列表,点击删除;

步骤二:点击否取消删除,点击是删除;

软件著作权申请提案-草稿页签-发布
步骤一:进入【知识产权管理】>【著作权管理】>【软件著作权申请提案】的草稿列表,点击新建:

步骤二:进入新建页面正确填写所有必填内容,点击【发布】;

步骤三:数据进入【有效】列表显示;
软件著作权申请提案-有效页签-编辑
步骤一:进入【知识产权管理】>【著作权管理】>【软件著作权申请提案】的 【有效】列表,点击编辑:

步骤二:进入编辑页面,页面内容字段与需求保持一致,填写必填项,点击发布后进入已有效列表;


软件著作权申请提案-查看
步骤一:进入【知识产权管理】>【著作权管理】>【软件著作权申请提案】,草稿列表和有效列表,点击查看:
height="2.502083333333333in"}
步骤二:进入查看页面,查看信息,点击【关闭】,返回列表页面。

软件著作权管理
软件著作权管理-草稿页签-新建,保存
步骤一:进入【知识产权管理】>【著作权管理】>【软件著作权管理】的草稿列表,点击新建:

步骤二:进入新建页面正确填写所有必填内容点击保存按钮进行保存;

步骤三:保存后进入草稿列表,数据显示正确;

软件著作权管理-草稿页签-编辑
步骤一:进入【知识产权管理】>【著作权管理】>【软件著作权管理】的草稿列表,点击编辑:

步骤二:进入编辑页面,页面内容字段与需求保持一致,填写必填项,点击发布后进入已有效列表;

软件著作权管理-草稿页签-删除
步骤一:进入【知识产权管理】>【著作权管理】>【软件著作权管理】,进入草稿列表,点击删除;

步骤二:点击否取消删除,点击是删除;

软件著作权管理-草稿页签-发布
步骤一:进入【知识产权管理】>【著作权管理】>【软件著作权管理】的草稿列表,点击新建:

步骤二:进入新建页面正确填写所有必填内容,点击【发布】;

步骤三:数据进入【有效】列表显示;
软件著作权管理-有效页签-编辑
步骤一:进入【知识产权管理】>【著作权管理】>【软件著作权管理】的【有效】列表,点击编辑:

步骤二:进入编辑页面,页面内容字段与需求保持一致,填写必填项,点击发布后进入已有效列表;
软件著作权管理-查看
步骤一:进入【知识产权管理】>【著作权管理】>【软件著作权管理】,草稿列表和有效列表,点击查看:
height="1.9256944444444444in"}
步骤二:进入查看页面,查看信息,点击【关闭】,返回列表页面。

作品著作权申请提案
作品著作权申请提案-草稿页签-新建,保存
步骤一:进入【知识产权管理】>【著作权管理】>【作品著作权申请提案】的草稿列表,点击新建:

步骤二:进入新建页面正确填写所有必填内容点击保存按钮进行保存;

步骤三:保存后进入草稿列表,数据显示正确;

作品著作权申请提案-草稿页签-编辑
步骤一:进入【知识产权管理】>【著作权管理】>【作品著作权申请提案】的草稿列表,点击编辑:

步骤二:进入编辑页面,页面内容字段与需求保持一致,填写必填项,点击发布后进入已有效列表;


作品著作权申请提案-草稿页签-删除
步骤一:进入【知识产权管理】>【著作权管理】>【作品著作权申请提案】,进入草稿列表,点击删除;

步骤二:点击否取消删除,点击是删除;

作品著作权申请提案-草稿页签-发布
步骤一:进入【知识产权管理】>【著作权管理】>【作品著作权申请提案】的草稿列表,点击新建:

步骤二:进入新建页面正确填写所有必填内容,点击【发布】;

步骤三:数据进入【有效】列表显示;
作品著作权申请提案-有效页签-编辑
步骤一:进入【知识产权管理】>【著作权管理】>【作品著作权申请提案】的【有效】列表,点击编辑:

步骤二:进入编辑页面,页面内容字段与需求保持一致,填写必填项,点击发布后进入已有效列表;

作品著作权申请提案-查看
步骤一:进入【知识产权管理】>【著作权管理】>【作品著作权申请提案】,草稿列表和有效列表,点击查看:
height="1.8145833333333334in"}
步骤二:进入查看页面,查看信息,点击【关闭】,返回列表页面。

作品著作权管理
作品著作权管理-草稿页签-新建,保存
步骤一:进入【知识产权管理】>【著作权管理】>【作品著作权管理】的草稿列表,点击新建:

步骤二:进入新建页面正确填写所有必填内容点击保存按钮进行保存;

步骤三:保存后进入草稿列表,数据显示正确;

作品著作权管理-草稿页签-编辑
步骤一:进入【知识产权管理】>【著作权管理】>【作品著作权管理】的草稿列表,点击编辑:

步骤二:进入编辑页面,页面内容字段与需求保持一致,填写必填项,点击发布后进入已有效列表;


作品著作权管理-草稿页签-删除
步骤一:进入【知识产权管理】>【著作权管理】>【作品著作权管理】,进入草稿列表,点击删除;

步骤二:点击否取消删除,点击是删除;

作品著作权管理-草稿页签-发布
步骤一:进入【知识产权管理】>【著作权管理】>【作品著作权管理】的草稿列表,点击新建:

步骤二:进入新建页面正确填写所有必填内容,点击【发布】;

步骤三:数据进入【有效】列表显示;
作品著作权管理-有效页签-编辑
步骤一:进入【知识产权管理】>【著作权管理】>【作品著作权管理】的【有效】列表,点击编辑:

步骤二:进入编辑页面,页面内容字段与需求保持一致,填写必填项,点击发布后进入已有效列表;


作品著作权管理-查看
步骤一:进入【知识产权管理】>【著作权管理】>【作品著作权管理】,草稿列表和有效列表,点击查看:


步骤二:进入查看页面,查看信息,点击【关闭】,返回列表页面。

域名管理
域名管理
域名管理-草稿页签-新建,保存
步骤一:进入【知识产权管理】>【域名管理】>【域名管理】的草稿列表,点击新建:

步骤二:进入新建页面正确填写所有必填内容,点击保存按钮进行保存;

步骤三:保存后进入草稿列表,数据显示正确;

域名管理-草稿页签-编辑
步骤一:进入【知识产权管理】>【域名管理】>【域名管理】的草稿列表,点击编辑:

步骤二:进入编辑页面,页面内容字段与需求保持一致,填写必填项,点击发布后进入已有效列表;


域名管理-草稿页签-删除
步骤一:进入【知识产权管理】>【域名管理】>【域名管理】,进入草稿列表,点击删除;

步骤二:点击否取消删除,点击是删除;
域名管理-草稿页签-发布
步骤一:进入【知识产权管理】>【域名管理】>【域名管理】的草稿列表,点击新建:

步骤二:进入新建页面正确填写所有必填内容,点击【发布】;

步骤三:数据进入【有效】列表显示;
域名管理-有效页签-编辑
步骤一:进入【知识产权管理】>【域名管理】>【域名管理】的【有效】列表,点击编辑:

步骤二:进入编辑页面,页面内容字段与需求保持一致,填写必填项,点击发布后进入已有效列表;

域名管理-查看
步骤一:进入【知识产权管理】>【域名管理】>【域名管理】,草稿列表和有效列表,点击查看:
height="2.423611111111111in"}
步骤二:进入查看页面,查看信息,点击【关闭】,返回列表页面。

知识产权台账
知识产权台账
知识产权台账-列表-新建,保存
步骤一:进入【知识产权管理】>【知识产权台账】>【知识产权台账】的列表,点击新建:

步骤二:进入新建页面正确填写所有必填内容,点击保存按钮进行保存;

步骤三:保存后进入列表,数据显示正确,状态为草稿;

知识产权台账-草稿数据-编辑
步骤一:进入【知识产权管理】>【知识产权台账】>【知识产权台账】列表,选择草稿数据,点击编辑:

步骤二:进入编辑页面,页面内容字段与需求保持一致,填写必填项,点击发布后进入列表,状态是已发布;


知识产权台账-草稿数据-删除
步骤一:进入【知识产权管理】>【知识产权台账】>【知识产权台账】列表,选择草稿数据,点击删除;

步骤二:点击否取消删除,点击是删除;
知识产权台账-新建发布
步骤一:进入【知识产权管理】>【知识产权台账】>【知识产权台账】列表,点击新建:

步骤二:进入新建页面正确填写所有必填内容,点击【发布】;

步骤三:数据进入在列表显示,状态为已发布;
知识产权台账-已发布数据-编辑
步骤一:进入【知识产权管理】>【知识产权台账】>【知识产权台账】列表,选择已发布数据,点击编辑;

步骤二:进入编辑页面,页面内容字段与需求保持一致,填写必填项,点击发布后进入列表;
知识产权台账-已发布数据-删除
步骤一:进入【知识产权管理】>【知识产权台账】>【知识产权台账】列表,选择已发布数据,点击删除;

步骤二:点击否取消删除,点击是删除;

知识产权台账-查看,导出
步骤一:进入【知识产权管理】>【知识产权台账】>【知识产权台账】,列表,点击查看;

步骤二:进入查看页面,点击"知识产权台账导出";

步骤三:导出成功,点击【关闭】,返回列表页面。
