Appearance
全面预算系统运维手册
1、新版本下发
第一步,打开【滚测管理】,设置并保存

第二步,打开【我的场景】-【预算编制】-【单体公司】-【参数配置】-【版本复制参数表】,填写表格数据,保存,打开脚本,执行

第三步,打开【数据权限】-【计划预算】,选群组,"年+版本维度通用组",初稿版改成只读,审核版改成编辑

第四步,打开【流程管理】-【计划管理】,选择"引用模板新增",

选择计划模板,当前界面有8个,需要新建8次,

输入计划名称,新建分组,计划期限,选择年、版本,全选主体,点下一步
(注意:年需要选当年和预算年)

选择流程期限,点发布
(注意,流程期限与计划期限关联,合并单位的天数会累计)

2、初稿版部分数据复制到审核版
场景:审核版预测数当前填写是的1-11月实际,12月预测,现在需要修改审核版口径,将审核版改成和初稿版一致,也填写1-9月实际、10-12月预测,同时将数据从初稿版复制到审核版
第一步,打开【滚测管理】,选择版本-情景,编辑后保存

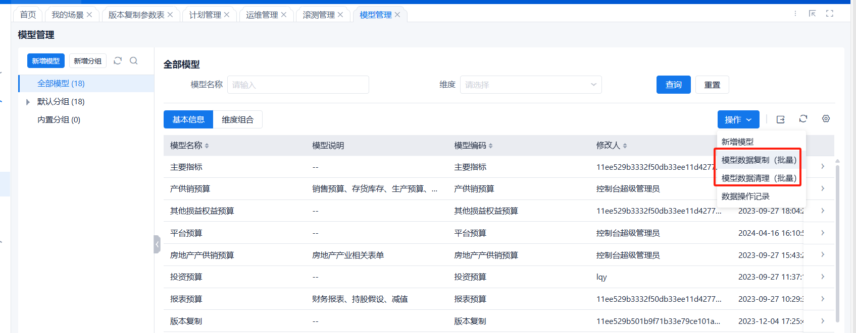
第二步,打开【模型管理】,,选择操作,点击"模型数据复制(批量)"

第三步,输入任务名称、复制模型、选择版本,勾选限定复制范围,维度选"年"--2024年、 "情景"--1-9月实际、10-12月预测、9月末、年末数,点执行。(如果限定组织为网科,则维度加上"组织"选江苏悦达网络科技有限公司)

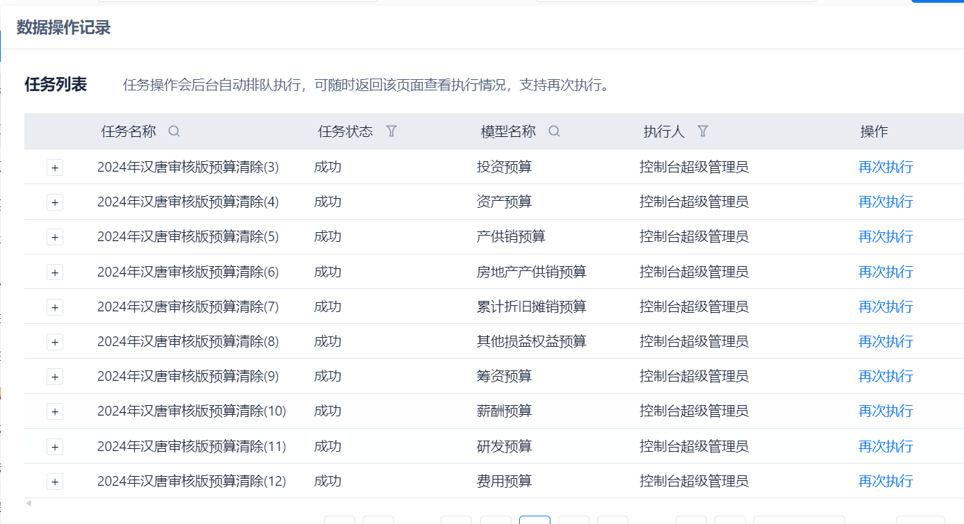
3、数据批量删除
第一步,打开【模型管理】,,选择操作,点击"模型数据删除(批量)"

第二步,输入任务名称、清理模型,选择清除范围:维度选"年"--2024年、 "版本"---审核版,限制组织,则选"组织"---江苏悦达网络科技有限公司,点执行。

}
4、系统界面改成运维中
第一步,打开【系统管理】-【运维管理】,点击"新增运维计划",输入开始时间,预计耗时,运维内容提示时机,保存即可。

第二步,如需关闭,直接点结束

5、已下发审批版,集团总部仍需修改初稿版数据
集团总部初稿版流程未提交,可以直接把【数据权限】-【计划预算】,选群组,"年+版本维度通用组",初稿版改成编辑

6、预算分析取预算编制版本数据
设置取定稿版(考核口径)

问题整理
1、项目投资预算表-平台汇总,悦达智行有问题,合并不应该显示累加


解决方案:
修改组织和序号的维度关联

7、组织更换平台单位操作步骤
以东方智慧能源从能源平台更换到投资平台并公司名称更换为悦达能服为例: 第一步,在维度管理,新建组织
第二步,如果报表里不想显示东方智慧这家单位,需要设置排除(有的报表单位显示是在单独表里设置的,不想显示需到表里改) 
第三步,设置维度关联, 
第四步,设置组织-岗位
第五步,新增公司组,并设置公司组权限 

第六步,为用户分配公司组权限
第七步,将东方智慧数据复制到悦达能服 


第八步,设置流程并发布到用户待办中
第九步,用户确认新单位数据无误后,将旧单位数据清除,不影响平台合并

